
| Name | Design and manufacture | Pressure Test | Weld end | |
| Reference Standard | NB/T 47044 | GB/T 13927 | GB/T 12459 |
| Name | Body | Disc | Shaft | Seat | Actuator |
| Material | 20Cr1MoVA | 12Cr1MoV | 12Cr1MoV | STL | Worm gear |
| Norminal pressure | Gas seal test(MPa) | Water seal test (MPa) | Shell seal test(MPa) | Working tempreature | Medium | |
| PN100 | 0.6 | 11 | 15 | 545℃ | Steam |
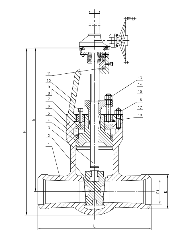
| DN | L | H | h | D | D1 |
| 200 | 700 | 1645 | 1399 | 274 | 210 |



