
| Name | Design and manufacture | Pressure Test | Weld end | |
| Reference Standard | NB/T 47044 | GB/T 13927 | GB/T 12459 |
| Name | Body | Disc | Shaft | Seat | Actuator |
| Material | 20Cr1Mo1VA, WCB | 12Cr1MoV | 12Cr1MoV, 2Cr13 | STL, 13Cr | Electric actuator |
| Norminal pressure | Gas seal test(MPa) | Water seal test (MPa) | Shell seal test(MPa) | Working tempreature | Medium | |||||
| PN100 | 0.6 | 11 | 15 | 545℃ | Steam | |||||
| PN240 | 0.6 | 26.4 | 36 |
|
|
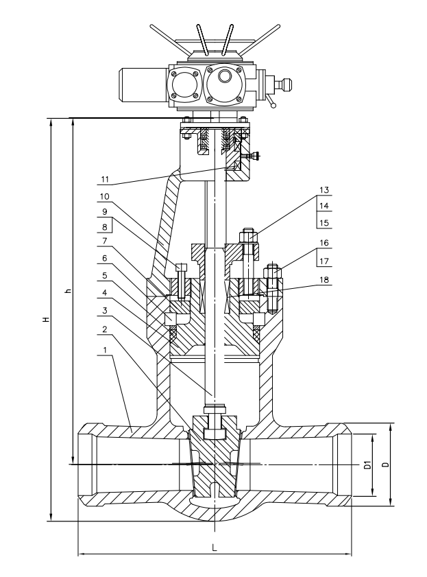
| DN | L | H | h | D | D1 |
| 100 | 400 | 1155 | 1020 | 145 | 108 |
| 225 | 700 | 1645 | 1399 | 273 | 226 |



