

| Name | Design and manufacture | Pressure Test | |
| Reference Standard | GB/T12235 | GB/T 13927 |
| Name | Body | Disc | Shaft | Seat | Actuator |
| Material | WCB | WCB | 2Cr13 | 13Cr | Handwheel |
| Norminal pressure | Gas seal test(MPa) | Water seal test (MPa) | Shell seal test(MPa) | Working tempreature | |
| PN16 | 0.6 | 1.76 | 2.4 | 1-220℃ |
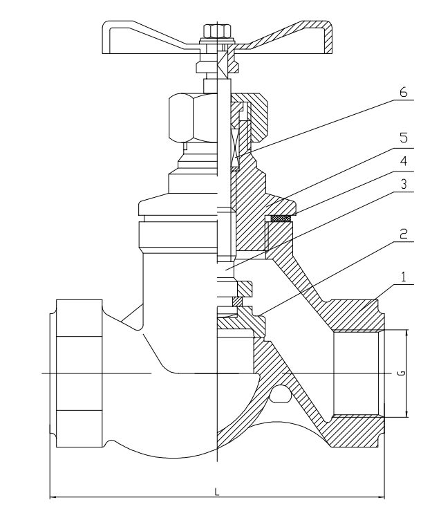
| DN | G | L |
| 15 | 1/2" | 87 |
| 20 | 3/4" | 97 |
| 25 | 1" | 109 |
| 32 | 1-1/4" | 139 |
| 40 | 1-1/2" | 170 |



