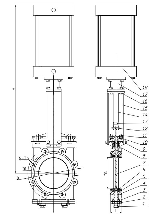
Knife Gate Valve is a valve that cuts off media with a blade-shaped gate, featuring:
- Simple structure: Compact and lightweight, easy to install/maintain.
- Excellent sealing: Metal/elastic gaskets ensure bidirectional sealing.
- Strong shearing: Blade design cuts fibers/particles, preventing clogging.
- Corrosion/wear resistance: Suitable for corrosive media like acids, alkalis, and sewage.
Applications: Widely used in mining, metallurgy, chemical, and wastewater treatment industries to control flow of media with suspended solids or fiber
| Working pressure | 10bar | |
| Application medium | Water, slurry | |







